Visual Signals
225 Electraray® Rotating Warning Light
- Available in 120VAC
- Five dome colors
- Integrated 1/2-inch pipe mount
- Indoor/outdoor use
- Type 4X, IP66 enclosure
- UL and cUL Listed
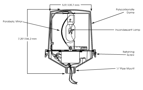
The Federal Signal Electraray® Model 225 is a compact, economical rotating warning light designed for industrial uses. This innovative dome design features a single retaining screw that allows quick and easy access for inspection and relamping.
The Federal Signal Electraray has a closed cell neoprene gasket that makes it water resistant. The injection molded reflector rotates around an incandescent lamp and produces 90 flashes per minute. It is available in five dome colors (amber, blue, clear, green and red) and is UL Listed for Type 4X. Constructed to IP66 specifications, the Electraray 225 is ready to mount on a 1/2-inch pipe. Optional mounting brackets are available, simplifying installation on walls and in corners.
The Electraray 225 is one of the most economical rotating signaling lights in the Federal Signal product line. Its design makes it easily adaptable for a multitude of indoor and outdoor applications. It is designed for permanent mounting where a 120VAC, 50/60Hz line is available. This light provides an effective, economical means of supplementing audible signaling devices.
Federal Signal's Electraray rotating light is an inexpensive warning light for calling attention to emergency situations or process status changes.
Special Considerations
- Mounting brackets not rated for Type 4X
Models
| Part # | Description | Ship Weight | Net Weight | |
|---|---|---|---|---|
| 225-120A | Rotating light, 120VAC, amber | 2.7 lbs. | 2 lbs. | Add to Quote > |
| 225-120B | Rotating light, 120VAC, blue | 2.7 lbs. | 2 lbs. | Add to Quote > |
| 225-120C | Rotating light, 120VAC, clear | 2.7 lbs. | 2 lbs. | Add to Quote > |
| 225-120G | Rotating light, 120VAC, green | 2.7 lbs. | 2 lbs. | Add to Quote > |
| 225-120R | Rotating light, 120VAC, red | 2.7 lbs. | 2 lbs. | Add to Quote > |
Accessories
| Part # | Description | Ship Weight | |
|---|---|---|---|
| LCMB2 | Mounting bracket, corner | 2.5 lbs. | Add to Quote > |
| LWMB2 | Mounting kit, wall mount | 2.95 lbs. | Add to Quote > |
Replacement Parts
| Description | Part # | |
|---|---|---|
| Dome, Amber | K8444D219C-03 | Add to Quote > |
| Dome, Blue | K8444D219C-01 | Add to Quote > |
| Dome, Clear | K8444D219C-04 | Add to Quote > |
| Dome, Green | K8444D219C-02 | Add to Quote > |
| Dome, Red | K8444D219C | Add to Quote > |
| Incandescent Lamp, 120VAC | K149123A | Add to Quote > |
| Motor, 120VAC | K8241A030-02 | Add to Quote > |
Agency
| Listed By Underwriter's Laboratory (ULus) | |
|---|---|
| Visual signalling appliances | UEES_E162485.pdf |
| Listed By Underwriter's Laboratory For Use In Canada (cUL) | |
|---|---|
| Visual signalling appliances certified for Canada | UEES7_E162485.pdf |
Specs
| Mount | 1/2" Pipe |
|---|---|
| Voltage | 120VAC 50/60Hz |
| Operating Current | 0.22 Amps |
| Light Source/Lamp Style | Incandescent |
| Flash Rate/Minute | 90 |
| Candela | 1,000 |
| Lamp Life | 1,000 Hours |
| Operating Temperature Min. | -31 F |
| Operating Temperature Max. | 150 F |
| Enclosure Rating | Type 4X |
| Ingress Protection (IP) | IP66 |
| Dome Colors | Amber Blue Clear Green Red |
| Height | 7.25 IN |
| Diameter | 5.5 IN |


